«Планетарно-цилиндрический бортовой редуктор трактора» (краткое описание изобретения к патенту Республики Беларусь № 21235; авторы изобретения: А.И.Бобровник, И.А.Рубель, Е.А.Горбенок; заявитель и патентообладатель: Учреждение образования «Белорусский национальный технический университет»).
Изобретение относится к области машиностроения и может быть использовано как планетарно-цилиндрический бортовой редуктор переднего ведущего моста трактора.
Задачей изобретения является: 1) повышение долговечности и обеспечение надежного смазывания подшипников и зацепления цилиндрической передачи; 2) сохранение свойств масла; 3) предотвращение его перерасхода.
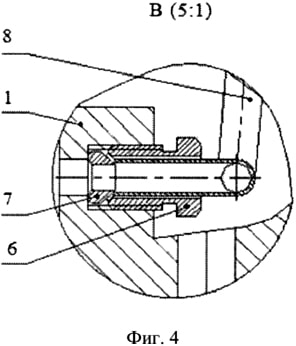
Сущность изобретения авторы поясняют фигурами: фиг.1 — компоновочная схема планетарно-цилиндрического бортового редуктора трактора; фиг.2 — вид «А» редуктора; фиг.3 — вид «Б» редуктора; фиг. 4 — вид «В» редуктора; фиг. 5 — вид «Г» редуктора; фиг. 6 — вид «Д» редуктора.

В «Планетарно-цилиндрическом бортовом редукторе трактора» содержатся технические элементы: «приливы» (1 и 2); «корпус» (3); «крышка» (4); «зубьев эпициклической шестерни» (5); «штуцер» (6); «уплотнительный конус» (7); «трубопровод» (8); «форсунка» (9); «шестерня» (10); «водила» (11); «сателлиты» (12); «пластина» (13); «контрольная пробка» (14); «зубчатое колесо» (15); «подшипники» (16).